產品特點
NBKVHJ氣動薄膜角型調節閥采用頂部導向結構,實現對壓力、流量、溫度、液位等參數的調節。具有體積小、重量輕、泄漏量少、流路簡單、阻力小,使用于高壓差、高粘度、含有懸浮物和顆粒狀物質液體的調節,可以避免結焦,堵塞,也便于自潔和水清洗,角型閥一般使用于底進側出的場合,因為這樣可使調節有較好的穩定性。
技術參數
閥體部分
閥體型式:鑄造角型閥
公稱通徑:DN25 、32 、40 、50 、65 、80 、100 、125、150、200
公稱壓力:PN 1.6、2.5、4.0、6.4、10Mpa
ANSI 150、300、 600Lb
JIS 10K、20K、30K
連接方式:法蘭: FF、RF、RTJ、等
焊接:SW、BW
法 蘭 距:符合IEC 534
閥蓋形式:標準型、加長型(散熱、低溫、波紋管密封)
填 料:V型聚四氟乙烯、柔性石墨填料等
密 封 墊:金屬夾石墨密封墊
執行機構:氣動:薄膜多彈簧執行機構氣開式、氣關式 、雙作用氣缸式執行機構
電動:普通型381L PSL、防爆型381L系列
定位器:電氣閥門定位器、智能型數字定位器
附 件:電磁閥、閥位反饋器、手操機構、保位閥、空氣過濾減壓器等
閥內部件
閥芯型式:單座、套筒型閥芯
流量特性:等百分比、線性 、快開
內件材質:標準材質組合及使用溫度、壓力范圍請參閱附錄
閥體材質:WCB、WC9、CF8、CF8M等
閥蓋材質:WCB、WC9、CF8、CF8M
閥芯材質:304、304+STL/PTFE、316、316+STL/PTFE
填料材質:“V”型PTFE、 柔性石墨、波紋管
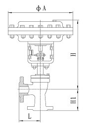
外形尺寸

| 公稱通徑 DN(mm) | L(mm) | H1( mm) | H(mm) | ØA |
| 1.6、2.5(MPa) | 常溫 | 中溫 |
| 20 | 100 | 100 | 349 | 444 | 285 |
| 25 | 115 | 115 | 350 | 445 | 285 |
| 32 | 130 | 130 | 358 | 458 | 285 |
| 40 | 130 | 130 | 378 | 478 | 285 |
| 50 | 150 | 150 | 393 | 493 | 285 |
| 65 | 170 | 170 | 494 | 594 | 360 |
| 80 | 190 | 190 | 503 | 628 | 360 |
| 100 | 215 | 215 | 521 | 646 | 360 |
| 125 | 250 | 250 | 634 | 759 | 360 |
| 150 | 275 | 275 | 696 | 846 | 470 |
| 200 | 325 | 325 | 715 | 915 | 470 |