產品概述
NBKVGUQ型系列氣動真空(壓力)球閥是適用于真空系統中接通或切斷管路中的介質流。該閥以壓縮空氣為動力,通過控制氣動元件來改變氣路方向,推動活塞齒條、齒輪的機械傳動,以角行程輸出扭矩來驅動球閥作啟閉運動。閥門為直通式,靠球面密封,因而既能用在真空狀態下,也能在低壓狀態下使用,并可任意位置安裝。
產品特點
氣缸分為雙作用和單作用(彈簧復位),可選配反饋信號裝置及電氣閥門定位器。GUQ氣動真空球閥是通過電磁換向閥改變氣路方向,控制執行氣缸來驅動球閥,達到接通或切斷真空(壓力)系統管道路中的介質流。適用的工作介質為帶酸、堿性的氣體或液體,應用于真空、乳制品、酒業、生物工程、食品、制藥、飲料、化妝品及化工領域。可選配反饋信號裝置及電氣閥門定位器。
技術參數
| 適用范圍(Pa) | 快卸法蘭DN10~DN50(KF)2x105 ~1.3x10-5 活套法蘭DN10~DN100 16x105~1.3x10-5 |
| 閥門漏率(Pa.L/S) | ≤1.3x10-5 |
| 介質溫度(℃) | 標準出廠:-30~+150 特殊指定:-30~+240 |
| 氣源壓力(Mpa) | 0.4~0.8 |
| 法蘭標準 | GB4982:GB/T6070 |
| 安裝位置 | 任意 |
| 電源電壓 | 標準出廠:AC220V/50Hz 特殊指定:AC110V;DC24V;DC12V等 |
| 信號反饋 | 標準出廠:閥位指示器 特殊指定:微動開關;智能型4~20mA DC |
| 氣缸可選 | 標準出廠:雙作用式 特殊指定:單作用式(有彈簧返回)可選常開或常閉 |
外形尺寸

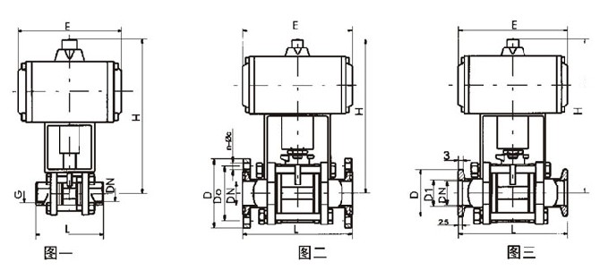
螺紋連接的外形及連接尺寸(圖一)
| 型號 | DN | G | H | E | L |
| NBKVGUQ-10(G) | 10 | 1/4" | 153 | 104 | 68 |
| NBKVGUQ-16(G) | 16 | 1/2" | 155 | 104 | 72 |
| NBKVGUQ-20(G) | 20 | 3/4" | 160 | 104 | 82 |
| NBKVGUQ-25(G) | 25 | 1" | 163 | 140 | 90 |
| NBKVGUQ-32(G) | 32 | 1-1/4" | 180 | 140 | 112 |
| NBKVGUQ-40(G) | 40 | 1-1/2" | 186 | 140 | 120 |
| NBKVGUQ-50(G) | 50 | 2" | 233 | 164 | 145 |
| NBKVGUQ-63(G) | 63 | 2-1/2" | 272 | 164 | 185 |
| NBKVGUQ-80(G) | 80 | 3" | 351 | 190 | 210 |
| NBKVGUQ-100(G) | 100 | 4" | 370 | 190 | 268 |
活套法蘭連接(GB6070)(圖二)
| 型號 | DN | D | Do | H | E | L | n-φc |
| NBKVGUQ-10(F) | 10 | 55 | 40 | 153 | 105 | 84 | 4-φ6.6 |
| NBKVGUQ-16(F) | 16 | 60 | 45 | 155 | 130 | 84 | 4-φ6.6 |
| NBKVGUQ-25(F) | 25 | 70 | 55 | 163 | 165 | 114 | 4-φ6.6 |
| NBKVGUQ-32(F) | 32 | 90 | 70 | 180 | 165 | 140 | 4-φ9 |
| NBKVGUQ-40(F) | 40 | 100 | 80 | 186 | 190 | 160 | 4-φ9 |
| NBKVGUQ-50(F) | 50 | 110 | 90 | 233 | 190 | 170 | 4-φ9 |
| NBKVGUQ-63(F) | 63 | 130 | 110 | 272 | 250 | 195 | 4-φ9 |
| NBKVGUQ-80(F) | 80 | 145 | 125 | 351 | 250 | 203 | 8-φ9 |
| NBKVGUQ-100(F) | 100 | 165 | 145 | 370 | 280 | 280 | 8-φ9 |
快卸法蘭連接(GB4982)(圖三)
| 型號 | DN | D1 | D | H | E | L |
| NBKVGUQ-10(KF) | 10 | 12.2 | 30 | 153 | 104 | 84 |
| NBKVGUQ-16(KF) | 16 | 17.2 | 30 | 155 | 104 | 84 |
| NBKVGUQ-25(KF) | 25 | 26.2 | 40 | 163 | 140 | 114 |
| NBKVGUQ-32(KF) | 32 | 34.2 | 55 | 180 | 140 | 140 |
| NBKVGUQ-40(KF) | 40 | 41.2 | 55 | 186 | 140 | 160 |
| NBKVGUQ-50(KF) | 50 | 52.2 | 75 | 233 | 164 | 170 |