產品概述
NBKVRT968Y系列大壓差給水調節閥為300MW和600MW機組起動給水泵(電動給水泵)配套,作為鍋爐起動給水調節閥。大容量機組給水量的調正都采用可以調正轉速的汽輪機來拖動給水泵,給水管道出口不設給水調節閥,但汽輪機調速有其最低轉速,其最低轉速下的給水流量不能滿足鍋爐冷態起動要求,故均設有定速電動給水泵,由于定速給水泵在起動后達到穩定狀態時,前后壓差很大,冷態起動時,出口壓力就是給水泵與鍋爐進口之壓差,故對電動給水泵出口調節閥技術要求就很高。根據使用特點,采用小孔、多孔式厚壁籠罩,利用閥芯上下移動來改變籠罩小孔的通流截面積來實現給水流量的調節。由于采用小孔多孔籠罩,使得它既是節流元件,又是一只消音器,故該閥門噪聲小,耐汽蝕。由于采用了壓力平衡式結構,降低了閥門的不平衡力,減少了執行機構的驅動力矩,節約能源,由于該閥門采用方便的裝配結構,拆裝方便,維修簡單。該調節閥適用于125、200、300、600、1000MW機組的給水系統中給水流量的調節。也適用于100MW以下的各類小型機組給水流量的調節。
工作原理
NBKVRT968Y系列大壓差給水調節閥是由電動執行機構和大壓差調節閥兩部份組成。電動調節閥輸入是調節器送來的直流電流信號,經伺服放大器放大后來驅動執行機構,產生軸向推力,帶動調節閥動作,從而引起介質流量的變化,來調節系統中各類參數。同時執行機構發出一個閥的位置信號供伺服放大器比較,使調節閥始終保持在一個與輸入信號相對應的位置上,完成伺服調節任務。
主要技術參數
| 公稱通徑DN(mm) | 150 | 200 |
| 流量特性 | 近似等百分比 |
| 公稱壓力PN (MPa) | ≤50 |
| 連接型式 | 焊接 |
| 配用執行機構 | PZD型 |
| 行程L(mm) | 57.6 | 88.2 |
| 最大壓差△P(MPa) | ≤42 |
| 額定流量系數Cv | 210 | 365 |
| 工作溫度t(℃) | ≤400 |
| 使用介質 | 水 |
注:可配ZKDS型電動執行機構。
主要技術性能指標
| 項 目 | 技 術 性 能 指 標 |
| 基本誤差(%) | 不超過±1.5 |
| 回差(%) | ≤1 |
| 死區(%) | ≤3 |
| 泄漏量 | 達到GB/T4213標準Ⅴ級;泄漏等級不低于MSS-SP-61標準。 |
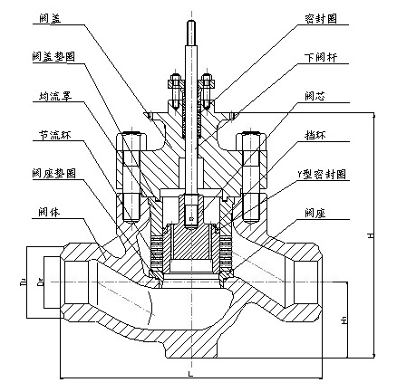
閥門主要材料
| 名 稱 | 材 料 |
| 閥體 | WCB 、20CrMo |
| 閥芯 | 2Cr13堆司太萊合金 |
| 閥桿 | 17-4PH |
| 閥座 | 2Cr13堆司太萊合金 |
外形尺寸
| 公稱通徑DN(mm) | 150 | 200 |
| H (mm) | 651 | 840 |
| H1 (mm) | 248 | 437 |
| L (mm) | 768 | 960 |
| D1 (mm) | 230 | 265 |
| D2 (mm) | 125 | 160 |
注:以上數據僅供參考,可按工況要求設計。
閥門外形圖
