自力式電控溫度調節閥(簡稱溫控閥)無須外加控制元件,利用被控介質自身的溫度變化進行自動調節,主要由調節閥、智能溫控電動執行器和感控器(溫包)組成。整機具有動作靈敏、溫度設定精確、維護方便等優點,具有很好的實用性,主要適用于以氣體、液體及蒸汽等為介質的各種熱交換器的溫度自動控制場合。
本系列產品閥體結構有單座、套筒、三通等型式。產品公稱壓力等級有PN16、40、64,閥體口徑范圍DN20~200;控制溫度分段范圍0~350℃;泄漏量標準Ⅳ~Ⅵ級;流量特性有等百分比、直線;多個品種規格可供選擇。
特點
帶現場溫度指示,準確可靠;
有較寬的溫度設定范圍,大大增加了閥門的適用性;
溫度設定方便,運行時可連續無干擾地進行設定,
免維護使用;
可帶報警裝置,安全可靠;
220VVAC電源方便可靠;
可按要求反饋信號至監控系統。
控制精度高,響應速度快,性能穩定可靠,工作壽命長。
適應范圍廣,可在很寬溫度范圍內進行溫度控制。
結構緊湊,安裝調試、使用簡便。
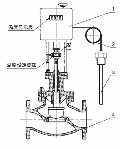
1、 只能溫控執行器2、毛細管
3、溫包
4、調節閥
工作原理
設定點的溫度通過溫包傳遞至智能溫控電動執行器,執行器經過與設定的溫度比較后,電動執行機構產生一個軸向動力,帶動閥桿、閥芯產生直線位移,實現閥門的自動調節,從而達到自動控制溫度的目的。設定點溫度可在現場高速設定。
自力式電控溫度調節閥分(B型)和(K型)兩種:(B型)加熱調節型升溫時閥關閉,常用于加熱調節;(K型)冷卻調節型升溫時閥打開,常用于冷卻調節。
閥體部分
l 結構大類:自力式溫控型
l 閥芯型式:單座、套筒、三通
l 流量特性:等百分比、直線
l 控制類型:加熱型 冷卻型
l 公稱壓力:1.6、4.0、6.4MPa
ANSI150、300
l 閥門口徑:DN20~200(3/4~8″)
l 溫度設定范圍:0~350℃
l 泄漏標準:Ⅳ、Ⅴ、Ⅵ
l 連接方式:法蘭式、螺紋、焊接
主要零件常用材料
l 閥體、閥蓋:ZG230~450、ZG1Cr18Ni9、
WCB、CF8、CF8M、CF3M
l 閥芯、閥座:1Cr18Ni9Ti、304、316、316L
以上+PTFE
l 填 料:PTFE、柔性石墨
l 波 紋 管:1Cr18Ni9Ti
l 墊 片:不銹鋼+柔性石墨
l 閥 桿:1Cr18Ni9Ti、304、316、2Cr13、 17-4PH
l 護 套:不銹鋼
注:特殊要求可提供其它材料。
特殊要求
l 特殊檢驗;
l 完全去油、去水管理;
l 禁銅處理;
l 特殊接口、配管;
l 真空條件下使用;
l 特殊介質(如氧氣);
l 使用不銹鋼連接件;
l 指定涂層顏色;
選型注意事項
l 溫度控制點建議安裝現場溫度計;
l 溫控閥前后建議配置壓力表;
l 確認毛細管長度;
l 確認控制要求(加熱或冷卻)
規格與技術參數表1
公稱通徑DN(mm) |
20 |
25 |
32 |
40 |
50 |
65 |
80 |
100 |
125 |
150 |
200 |
額定流量
系數Kv |
直線 |
6.9 |
11 |
17.6 |
27.5 |
44 |
69 |
110 |
176 |
275 |
440 |
690 |
| 等百分比 |
6.3 |
10 |
16 |
25 |
40 |
63 |
100 |
160 |
250 |
400 |
630 |
公稱壓力PN(Mpa) |
1.6、4.0、6.4 |
執行機構型號 |
W3610~08 |
W3610~30 |
W3610~50 |
W3610~99 |
有效推力(N) |
800 |
3000 |
5000 |
10000 |
額定行程L(mm) |
16 |
25 |
40 |
60 |
固有流量特性 |
直線 等百分比 |
溫度設定范圍(℃) |
0~100、50~150、100~200、200~300、250~350 |
使用介質 |
蒸汽、水、油、氣體 |
溫度控制精度 |
±1~5℃可調 |
允許泄漏量 |
IV、V、VI級 |
電源電壓 |
220VAC |
使用環境 |
溫度:-10~+80℃ 濕度:≤95℃ |
毛細管長度 |
3m、5m、10m |
溫包插入深度 |
270、430、630 |
聯接螺紋 |
3/4″、1″ |

1、套筒 2、閥芯 1、三通閥芯 2、接管
圖2 ZZWM套筒型 圖3 ZZWX三通型

1、散熱片 2、填料 3、隔離環
圖4 散熱型
閥體類型
P型單座結構適用于大部分工況(圖1);
標準型工作溫度-20~200℃,泄漏量等級為Ⅳ(圖1);
M型套筒溫度閥適用于壓差較高、口徑較大場合(圖2);
X型三通溫度閥適用于帶回流的場合(圖3);
散熱型閥蓋增設散熱片,可用于介質溫度-60~560℃的場合(圖4);
波紋管密封型對移動的閥桿形成完全的密封,杜絕流體泄漏(圖5);
調節切斷型軟密封結構閥芯達VI級泄漏標準(微氣泡級)(圖6)。
1、波紋管 2、下閥蓋(接管) 3、上閥蓋 1、軟質材料(PTFE、PPL)
圖5 波紋管密封型 圖6 軟密封型
閥內件、填料材料的使用溫度?壓力范圍
各種材料、工作溫度范圍及閥座泄漏量 表2
公稱通徑DN(mm) |
20~200 |
閥體材料 |
ZG230~450、WCB |
ZG1Cr18Ni9、WCB、CF8、CF8M、CF3M |
溫度范圍 |
閥蓋 |
標準型 |
-20~+250℃ |
-40~+250℃ |
| 散熱型 |
-20~+425℃ |
-60~+560℃ |
| 波紋管密封型 |
-20~+250℃ |
-100~+560℃ |
閥芯 |
金屬:不銹鋼 |
-196~+560℃ |
|
| 軟密封:增強PTFE |
-20~+200℃ |
| 司太萊合金堆焊 |
-196~+560℃ |
填料 |
PTFE |
-40~+160℃ |
| PTFE+柔性石墨 |
-60~+20℃、+140~+200℃ |
| 柔性石墨 |
-196~+560℃ |
墊片 |
F4 |
-60~+200℃ |
| 不銹鋼+柔性石墨 |
-196~+560℃ |
泄漏量等級 |
閥芯 |
金屬:不銹鋼 |
IV級(10-4×閥額定容量) |
| 軟密封:增強PTFE |
VI級(微氣泡級) |
| 司太萊合金堆焊 |
V級(1.8×10-7×△P×D) |
注:1)1氣泡數量詳見GB/T4213-92
2)△P為閥前后壓差,以Kpa為單位;D為閥座直徑,以mm為單位;
3)表中數據為本公司標準配置,可按用戶要求另行選配。
流量特性
流量特性曲線
表3、各種固有流量特性相對行程下的相對流量數值 R50 單位:%

允許壓差
表4、ZZWP型單座溫度閥允許壓差表 單位:Mpa
| DN(mm)
推力(N) |
20 |
25 |
32 |
40 |
50 |
65 |
80 |
100 |
125 |
150 |
200 |
| 800 |
1.78 |
1.14 |
0.70 |
0.45 |
0.29 |
|
|
|
|
|
|
| 2000 |
|
|
1.74 |
1.11 |
0.71 |
|
|
|
|
|
|
| 3000 |
|
|
2.61 |
1.67 |
1.07 |
0.63 |
0.42 |
0.27 |
|
|
|
| 5000 |
|
|
4.36 |
2.79 |
1.78 |
1.05 |
0.70 |
0.45 |
|
|
|
| 6500 |
|
|
|
|
|
1.37 |
0.91 |
0.58 |
|
|
|
| 10000 |
|
|
|
|
|
|
|
|
0.57 |
0.40 |
0.22 |
表5、ZZWM型套筒溫度閥允許壓差表 單位:Mpa
| DN(mm)
推力(N) |
20 |
25 |
32 |
40 |
50 |
65 |
80 |
100 |
125 |
150 |
200 |
| 800 |
4.05 |
3.30 |
2.62 |
2.12 |
1.71 |
|
|
|
|
|
|
| 2000 |
|
|
6.4 |
5.31 |
4.28 |
3.33 |
2.72 |
2.18 |
|
|
|
| 3000 |
|
|
6.4 |
6.4 |
6.4 |
4.99 |
4.08 |
3.82 |
|
|
|
| 5000 |
|
|
|
|
|
6.4 |
6.4 |
5.46 |
|
|
|
| 6500 |
|
|
|
|
|
6.4 |
6.4 |
6.4 |
5.70 |
4.76 |
3.58 |
| 10000 |
|
|
|
|
|
|
|
|
6.4 |
6.4 |
6.4 |
允許壓差表的附注說明:
填料材質為PTFE;
介質的流向與閥芯關閉的方向相反
金屬密封型泄漏等級為VI級;
數值受公稱壓力、壓力—溫度圖表限制;
波紋管密封累P2≠0時須重新核對。
典型應用
ZZW型自力式溫度調節閥可用于各種場合的加熱或冷卻,舉例如下:

1、ZZW自力式溫度調節閥 2、工藝過程設備(或房間) 3、蒸汽凝水器 4、過濾器
溫包安裝方式
注:安裝時必須是溫包(溫控器)全部浸入被測介質中!
安裝
l 安裝前應對管道進行嚴格除污,吹凈焊渣等雜物,否則將嚴重損壞閥門。
l 調溫閥應垂直裝在水平管道上,介質流向應與閥體上的箭頭指向一致。
l 為了自控系統或檢修閥門時仍能連續運行,應設置旁通閥,閥前須裝過濾器、壓力表,在傳感器附近裝測溫計,便于現場監視與溫度設定。
l 傳感器須全部浸沒在被控介質中,并處于水平或傾斜向上安裝。
連接尺寸及標準
連接方式:法蘭、 螺紋、焊接(須用戶指定)
法蘭標準:PN16鋼制法蘭按GB/T9113.1
PN40、64鋼制法蘭按GB/T9113.2
密封面型式:PN16為突面(RF)、 PN40、64為凹凸面,閥體為凹面;
法蘭端面距:GB12221-89
*連接方式、閥體法蘭及法蘭端面距可按用戶指定的標準制造。
如:ANSI、DIN、JIS等標準。
外形尺寸及重量
ZZWP(M)型單座(套筒)溫度閥標準型、散熱型、波紋管密封型外形尺寸及重量


*此三種方式連接尺寸需垂詢!
注:1)表中重量為標準型PN16數據。
ZZWX型三通溫度閥標準型、散熱型、波紋管密封型外形尺寸及重量
表7 |
|
|
|
|
單位:mm |
| 公稱通徑DN |
20 |
25 |
32 |
40 |
50 |
65 |
80 |
100 |
125 |
150 |
200 |
| L |
PN16 |
181 |
184 |
200 |
220 |
250 |
275 |
300 |
350 |
410 |
450 |
550 |
| PN64 |
206 |
210 |
230 |
251 |
286 |
311 |
337 |
394 |
450 |
508 |
650 |
| A |
180 |
200 |
200 |
310 |
| H1 |
100 |
120 |
130 |
140 |
150 |
165 |
180 |
195 |
260 |
320 |
360 |
| H2 |
125 |
125 |
155 |
155 |
165 |
200 |
205 |
210 |
275 |
330 |
372 |
| H3 |
380 |
515 |
725 |
850 |
| H4 |
212 |
212 |
222 |
226 |
230 |
335 |
335 |
345 |
414 |
456 |
478 |
| H5 |
326 |
326 |
394 |
394 |
398 |
605 |
605 |
618 |
688 |
690 |
708 |
| 溫包插入溫度T |
150、250(標準)、430 |
| 溫包、護套直徑d |
溫包:φ6 護套:φ16 護套螺絲:G1 |
| 毛細管長度(m) |
5(標準),用戶要求(可供) |
| 重量(KG) |
24 |
24 |
28 |
38 |
44 |
70 |
74 |
92 |
125 |
156 |
232 |
型號編制說明注:1)表中重量為標準型PN16數據。
Z Z W □-□-□
| 產品類別 |
Z |
|
|
|
|
|
|
執行器大類 |
| |
Z |
|
|
|
|
|
自力式 |
| |
|
W |
|
|
|
|
溫度 |
調節機構 |
P |
M |
X |
|
調節閥單座、套筒、三通 |
機構類型 |
E |
|
帶電控驅動 |
公稱壓力 |
16 |
|
1.6MPa |
副閥芯作用方式 |
B |
加熱型 |
| K |
冷卻型 |